General Motors: uno studio per le batterie fatte come il Lego per migliorare il raffreddamento

General Motors: uno studio per le batterie fatte come il Lego per migliorare il raffreddamento
Pubblicità
General Motors sta valutando una soluzione innovativa per affrontare i problemi di produzione delle attuali celle batteria Ultium: celle a forma di Lego con canali di raffreddamento integrati.
25 marzo 2024

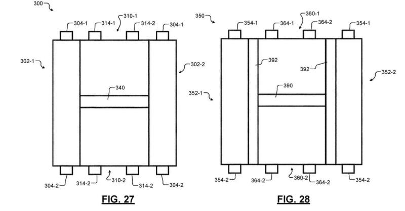
Una recente domanda di brevetto di General Motors illustra come le celle a forma di Lego, con spazi tra di loro, migliorerebbero il raffreddamento e prolungherebbero la vita delle batterie. Questo sistema potrebbe utilizzare anche celle di forma rettangolare con varie lunghezze e spessori, disposte per creare un canale a forma di H.

Tuttavia, queste soluzioni potrebbero richiedere l'uso di celle rettangolari, simili a quelle attualmente utilizzate, anziché le celle cilindriche preferite da altri produttori per i loro vantaggi termici.

Sebbene il brevetto offra una prospettiva interessante, non è certo che verrà implementato su EV di produzione. GM ha avuto difficoltà nella produzione di massa delle sue Ultium EV e introdurre nuove forme di celle comporterebbe ulteriori sfide.

Naviga su Automoto.it senza pubblicità
1 euro al mese

Argomenti

Ultime da News

Da Moto.it

Pubblicità