Ferrari diventa una Transformer: brevettata la spider 2 + 2

Ferrari diventa una Transformer: brevettata la spider 2 + 2
Pubblicità
Ferrari ha depositato dei brevetti per rendere più confortevole l’utilizzo delle sue future cabrio
1 febbraio 2023

Ferrari, ha registrato negli ultimi giorni dei brevetti per migliorare la praticità delle sue cabrio

Nonostante non siano le auto più vendute del cavallino (le coupé e il Suv Purosangue sono i modelli più venduti di tutta la gamma), la casa di Maranello non ha intenzione di lasciare indietro le sue cabrio. 

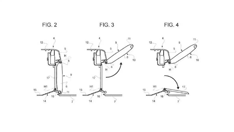
La testata giornalistica CarBuzz, ha scovato due nuove idee che Ferrari ha registrato all’USPTO (l’ufficio brevetti degli Stati Uniti) e uno delle due, riporta un’interessante novità che consente di trasformare una sportiva decappottabile da quattro a due posti nel modo più rapido possibile. 

Naviga su Automoto.it senza pubblicità
1 euro al mese

Grazie ai disegni tecnici che sono stati pubblicati, sembra che Ferrari abbia abbandonato la soluzione del classico deflettore delle cabrio, utilizzando gli stessi sedili posteriori come componente aerodinamica. Infatti, sembra che i sedili possano “chiudersi” (probabilmente attraverso un meccanismo di lacci e attuatori) e dopo averli inclinati verso i sedili anteriori, nella parte posteriore sembra che si possa creare una superficie quasi piatta che riduce al minimo la resistenza aerodinamica

Rispetto alla versione “classica”, questa soluzione potrebbe essere decisamente meno pesante e soprattutto, permetterebbe di migliorare l’efficienza aerodinamica della vettura. 

Infine, il secondo brevetto registrato, mostrerebbe un meccanismo che permetterebbe di caricare oggetti ingombranti nell’abitacolo quando si viaggia con il tetto aperto.

Pubblicità