Ford, il brevetto per le cinture di sicurezza riscaldate

Ford, il brevetto per le cinture di sicurezza riscaldate
Pubblicità
Cinture di sicurezza riscaldabili? Ecco il brevetto depositato da Ford Motor Company negli Stati Uniti
11 dicembre 2018

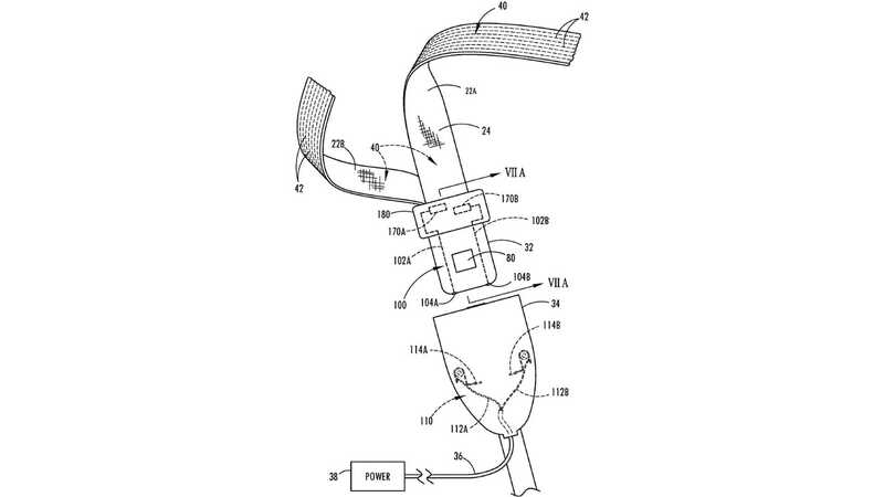
In un documento di ben 31 pagine depositato presso l'ufficio brevetti, Ford ha spiegato nel dettaglio come funzionerebbero le nuove cinture di sicurezza riscaldabili di ogni passeggero. Tuttavia non è detto che Ford porterà a breve questa soluzione sulle vetture di serie.

Il funzionamento di questo sistema è abbastanza semplice: nella trama della cintura di sicurezza sono nascosti dei sottilissimi filamenti metallici riscaldabili elettricamente.

Una soluzione che non rivoluzionerà di certo la mobilità su quattro ruote ma che, nelle giornate più fredde, potrà fornire una comodità in più rispetto ai già presenti volanti e sedili riscaldabili.

Una soluzione semplice ed intelligente per chi non vuole rinunciare al massimo comfort e ad essere "coccolato" a bordo della propria vettura e, siamo certi, non mancheranno variazioni estetiche e funzionali a cominciare dal supporto riscaldato anche per la fibbia.

Naviga su Automoto.it senza pubblicità
1 euro al mese
Pubblicità
Caricamento commenti...

Hot now