Le nuove viti BMW bloccano le riparazioni fai-da-te: cosa cambia per i proprietari

Le nuove viti BMW bloccano le riparazioni fai-da-te: cosa cambia per i proprietari
Pubblicità
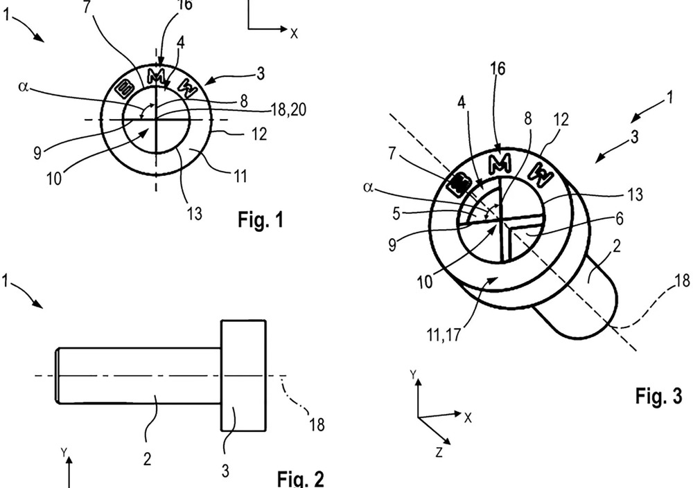
BMW ha depositato il brevetto di un nuovo tipo di vite con testa personalizzata a forma di logo, che potrebbe rendere molto più difficile per i proprietari e i meccanici indipendenti smontare e riparare alcune parti dell’auto senza strumenti specifici
23 dicembre 2025

Un semplice elemento meccanico come la vite, normalmente ignorato da chi non è addetto ai lavori, è al centro di una polemica globale nel mondo automotive: BMW ha brevettato un nuovo tipo di vite con testa modellata sul proprio logo, il cui profilo particolare richiederebbe strumenti ad hoc per essere svitata.

La notizia, resa pubblica da un recente deposito di brevetto, ha subito attirato l’attenzione delle comunità automobilistiche online per le possibili ripercussioni sul diritto alla manutenzione fai-da-te (Right to Repair).

Naviga su Automoto.it senza pubblicità
1 euro al mese

Un brevetto insolito: cosa ha in mente BMW

 

Secondo Carscoop, BMW ha depositato una serie di disegni tecnici che mostrano viti con teste sagomate in stile roundel, ovvero il celebre logo BMW, completo di quadranti e profilature specifiche. Queste teste non corrispondono agli standard degli strumenti comuni (come cacciaviti o bussole di uso generalista) e richiedono invece un attrezzo specifico, che, se non distribuito liberamente, potrebbe vincolare la rimozione dei componenti a officine autorizzate o a chi è in possesso dell’equipment BMW.

Il brevetto delinea quattro tipi di testa, tra cui varianti con forme concave o con rilievi, tutti ispirati al brand. In pratica, il design potrebbe impedire ai proprietari di usare strumenti standard per avvitare o svitare questi elementi, rendendo più complesso intervenire sui componenti delle vetture senza strumenti dedicati.

Le reazioni online: critiche e ironie

 

La reazione tra gli appassionati non si è fatta attendere. Sui forum e sulle community dedicate alle automobili, gli utenti hanno espresso scetticismo e frustrazione, criticando l’idea di complicare ulteriormente operazioni di manutenzione che per molti proprietari rappresentano un’eredità culturale dell’automobilismo. Alcuni commentatori hanno definito la trovata una forma estrema di “design ostile”, mentre altri hanno ironizzato sul fatto che gli stessi proprietari potrebbero cercare soluzioni alternative, come la realizzazione di bit compatibili o strumenti aftermarket.

Un altro punto sollevato riguarda proprio la facilità con cui il mercato degli accessori potrebbe adattarsi, producendo strumenti compatibili prima ancora che queste viti compaiano in vetture reali. Questo fenomeno è già comune per altri sistemi proprietari, dove adattatori e chiavi alternative fanno il giro del mondo in tempi record.

Diritto alla riparazione e possibili implicazioni

La questione delle viti speciali si inserisce in un dibattito più ampio: quello del Right to Repair, ovvero del diritto degli utenti di riparare o modificare i propri dispositivi senza impedimenti ingiustificati. Nel settore automotive moderno, sempre più spesso i produttori controllano diagnostica, software e accesso alle parti di ricambio, spingendo molti proprietari a rivolgersi a concessionarie ufficiali per interventi anche di entità minima.

In alcuni casi recenti, questa dinamica ha già sollevato controversie: ad esempio, proprietari di veicoli elettrici si sono lamentati che persino operazioni come la sostituzione delle pastiglie dei freni richiedano strumenti o autenticazioni proprietarie difficili da ottenere indipendentemente. Situazioni del genere indicano come la complessità tecnica e le protezioni digitali o meccaniche stiano influenzando il modo in cui viene concepita la manutenzione delle auto moderne.

Se le viti brevettate da BMW dovessero davvero diventare uno standard su una futura generazione di vetture, ciò potrebbe segnare un ulteriore passo verso un ecosistema in cui l’accesso agli strumenti e alle riparazioni resta un monopolio delle reti ufficiali o di partner certificati.

Argomenti

Pubblicità