Rolls-Royce Cullinan elettrica: il cofano si apre come non avete mai visto su un'auto

Rolls-Royce Cullinan elettrica: il cofano si apre come non avete mai visto su un'auto
Pubblicità
  • Credits Automedia
La nuova SUV di Goodwood arriva entro fine anno con piattaforma Architecture of Luxury, tecnologia BMW di ultima generazione e oltre 600 km di autonomia. Ma è il muso a riservare la sorpresa più clamorosa
29 aprile 2026

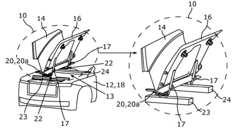
Goodwood non si limita a costruire auto, le scolpisce come gioielli su misura. E con la prossima Rolls-Royce Cullinan elettrica la casa britannica sembra intenzionata a riscrivere persino le regole del cofano anteriore, trasformando un dettaglio funzionale in un piccolo cerimoniale meccanico. Le ultime foto spia, infatti, raccontano di una soluzione tecnica che non si era mai vista prima su un'auto di serie.

Rolls Royce Cullinan
Rolls Royce Cullinan Automedia
Naviga su Automoto.it senza pubblicità
1 euro al mese

Un cofano in tre parti, con la Spirit of Ecstasy al centro della scena

Lo si intuisce avvicinandosi al frontale del prototipo: la zona anteriore è suddivisa in tre elementi distinti. Al centro corre una sorta di spina dorsale fissa che ospita la celebre Spirit of Ecstasy retrattile, mentre ai lati due pannelli mobili si sollevano in modo indipendente, esattamente come fossero due piccoli portelloni di un bagagliaio. Non un cofano singolo, dunque, ma una doppia apertura simmetrica che lascia la statuetta sempre al suo posto, intoccabile, mentre il proprietario accede al vano sottostante.

L'idea non nasce ieri. Era già stata depositata anni fa in un brevetto Rolls-Royce che ne illustrava il funzionamento nei minimi dettagli, e oggi sembra finalmente pronta a passare dalla carta al metallo. Si tratta, di fatto, della reinterpretazione più aristocratica possibile del frunk, il bagagliaio anteriore tipico delle elettriche, qui ribattezzato secondo il vocabolario del lusso assoluto: uno spazio che il cliente potrà personalizzare a piacere, dal set di valigie su misura al vano refrigerato per bicchieri e bottiglie.

Apertura del cofano della Rolls Royce Cullinan
Apertura del cofano della Rolls Royce Cullinan Automedia

Un frontale completamente nuovo, ma in continuità con il DNA Cullinan

Piattaforma Architecture of Luxury e cuore BMW di ultima generazione

Sotto la pelle, la nuova Cullinan elettrica condividerà l'ossatura con la Spectre, ovvero la stessa Architecture of Luxury già adottata dalla coupé a batteria. La differenza, però, la faranno i contenuti tecnologici. Il modello dovrebbe infatti beneficiare delle ultime soluzioni BMW per la trazione elettrica, quelle in arrivo sulla nuova generazione di modelli zero emissioni del gruppo, con un beneficio diretto sull'autonomia: si parla di oltre 600 km con una singola ricarica, valore di tutto rispetto considerando la mole, il peso e la vocazione al comfort assoluto della vettura.

Rolls Royce Cullinan
Rolls Royce Cullinan Automedia

Debutto entro fine anno

Lo sviluppo, stando alle indiscrezioni che arrivano da Goodwood, è a uno stadio piuttosto avanzato e la presentazione ufficiale è attesa entro la fine del 2026. Sarà il secondo modello elettrico della casa britannica dopo la Spectre, e segnerà un passaggio importante nella transizione di Rolls-Royce verso l'elettrificazione totale prevista per il 2030. Resta da capire quanto le scelte tecniche del cofano e l'intera ergonomia del frontale incideranno sul prezzo finale, che difficilmente scenderà sotto le cifre già stratosferiche della Cullinan attuale.

Da Moto.it

Pubblicità
Rolls Royce Cullinan
Rolls Royce

Rolls Royce
Via dell'Unione Europea 1
San Donato Milanese (MI) - Italia
02 51883896
https://www.rolls-roycemotorcars.com/en_GB/home.html

  • Prezzo da 395.000
    a 450.000 €
  • Numero posti 5
  • Lunghezza 534 cm
  • Larghezza 200 cm
  • Altezza 184 cm
  • Bagagliaio da 560
    a 1.930 dm3
  • Peso 2.660 Kg
  • Carrozzeria Suv e Fuoristrada
Rolls Royce

Rolls Royce
Via dell'Unione Europea 1
San Donato Milanese (MI) - Italia
02 51883896
https://www.rolls-roycemotorcars.com/en_GB/home.html