Ferrari smonta il V12 e lo reinventa: il brevetto con due sei cilindri in linea a V

Ferrari smonta il V12 e lo reinventa: il brevetto con due sei cilindri in linea a V
Pubblicità
Un documento depositato negli Stati Uniti svela un powertrain ibrido serie in cui due motori I6 disposti a V non muovono le ruote, ma generano solo energia per i propulsori elettrici. Ecco come Maranello immagina il futuro delle prestazioni
31 marzo 2026

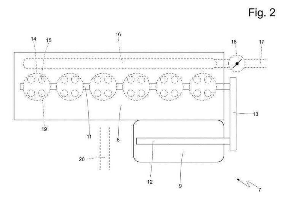
Ferrari ha depositato un brevetto negli Stati Uniti che potrebbe ridefinire il concetto stesso di supercar elettrificata. Il documento, registrato presso lo United States Patent and Trademark Office con il numero 2026/0077645, descrive un powertrain ibrido serie costruito attorno a due motori sei cilindri in linea disposti a V, ma con una particolarità che cambia tutto: nessuno dei due è collegato meccanicamente alle ruote. Il loro unico compito è generare elettricità.

Naviga su Automoto.it senza pubblicità
1 euro al mese

Da LaFerrari alla rivoluzione dell'ibrido serie

Il viaggio di Maranello nell'elettrificazione è cominciato con la LaFerrari, hypercar il cui sistema di recupero dell'energia cinetica derivava direttamente dal KERS della Formula 1. Da lì la strada ha portato agli ibridi plug-in con architettura V6, come la 296 GTB, fino all'annuncio della Ferrari Luce, la prima vettura completamente elettrica del Cavallino. Questo nuovo brevetto, però, racconta una direzione diversa e per certi versi ancora più audace, un veicolo elettrico a range extender con il cuore pulsante di due motori termici che non toccano mai le ruote.

Ferrari LaFerrai
Ferrari LaFerrai Ferrari

Due 6 cilindri in linea disposti a V: un V12 "decostruito" che non esiste davvero

L'architettura descritta nel brevetto è tanto elegante quanto insolita. I due sei cilindri in linea sono montati in una configurazione che ricorda la classica disposizione a V, ma i loro alberi motore non sono collegati tra loro. Questa indipendenza meccanica significa che i due propulsori possono girare a regimi differenti, ottimizzando la produzione di energia elettrica in base alle condizioni di guida. Un dettaglio che farà felici gli appassionati di ingegneria: i circuiti di lubrificazione dei due motori sono invece interconnessi, suggerendo un livello di integrazione meccanica raffinato nonostante l'indipendenza cinematica.

Ciascun motore termico è accoppiato al proprio generatore elettrico attraverso un dispositivo di trasmissione a rapporto fisso. Non c'è cambio, non c'è frizione verso le ruote: tutta l'energia meccanica viene convertita in energia elettrica per alimentare la batteria e i motori di trazione.

Due 6 cilindri autonomi con circuiti di lubrificazione interconnessi
Due 6 cilindri autonomi con circuiti di lubrificazione interconnessi

Motori elettrici reversibili e opzione quattro propulsori

Sul lato della trazione, il brevetto descrive due motori elettrici reversibili che muovono le ruote posteriori. Ma Ferrari non si ferma qui: tra le varianti contemplate nel documento compare anche una configurazione con quattro motori elettrici, uno per ciascuna ruota. Una soluzione che aprirebbe la porta a un controllo della dinamica di marcia senza precedenti per una vettura stradale di Maranello, con la possibilità di gestire la coppia in modo indipendente su ogni singola ruota.

Ciclo Atkinson e baricentro basso: le ragioni di una scelta

Il brevetto non si limita all'architettura meccanica. Ferrari specifica che i due motori a combustione interna funzionano secondo il ciclo Atkinson, notoriamente più efficiente dal punto di vista termico rispetto al tradizionale ciclo Otto, anche se a scapito della potenza specifica. In un sistema dove i motori non devono fornire prestazioni dinamiche dirette ma solo generare corrente, questa scelta è perfettamente coerente.

C'è poi la questione del baricentro. La batteria è posizionata nel pavimento del veicolo, mentre i due I6 montati in basso contribuiscono a mantenere il centro di gravità il più vicino possibile al suolo. Un vantaggio doppio: miglioramento della dinamica di guida e maggiore efficienza aerodinamica. Per un costruttore che ha fatto della guida pura la propria ragion d'essere, sono dettagli tutt'altro che marginali.

Il contesto: l'ibrido serie non è più un esperimento

Sarebbe ingenuo pensare che Ferrari operi in un vuoto tecnologico. L'architettura dell'ibrido serie, dove il motore termico alimenta esclusivamente un generatore senza mai muovere le ruote, sta vivendo una vera e propria rinascita nel panorama automobilistico globale.

Il concetto è stato sdoganato nella produzione di grande serie, questa filosofia è tornata prepotentemente di moda, spinta soprattutto dai costruttori cinesi e da Mazda, che ha integrato un motore rotativo Wankel come generatore nella sua MX-30 R-EV.

Un brevetto non è una promessa, ma racconta una visione

Come accade per ogni brevetto, non c'è alcuna garanzia che questo schema finisca mai sotto la carrozzeria di una Ferrari di serie. Il Cavallino Rampante deposita regolarmente proprietà intellettuale che esplora scenari futuri senza impegno produttivo. Tuttavia, la complessità e il livello di dettaglio di questo documento suggeriscono qualcosa di più di un semplice esercizio teorico.

In un'epoca in cui l'industria automobilistica cerca il compromesso ideale tra prestazioni, efficienza e autonomia, l'idea di un V12 virtuale fatto di due sei cilindri che non toccano le ruote ma alimentano un sistema elettrico ad alte prestazioni è esattamente il tipo di soluzione che ci si aspetterebbe da Maranello: tecnicamente sofisticata, concettualmente provocatoria e senza alcun timore di riscrivere le regole.

Pubblicità
Cambia auto
Ferrari 812 Coupé
Ferrari

Ferrari
Via Abetone Inferiore, 4
41053 Maranello (MO) - Italia
0536 949 111
customerservice@owners.ferrari.com
https://www.ferrari.com/it-IT

  • Prezzo da 300.308
    a 303.727 €
  • Numero posti 2
  • Lunghezza 466 cm
  • Larghezza 197 cm
  • Altezza 128 cm
  • Bagagliaio 210 dm3
  • Peso da 1.630
    a 1.790 Kg
  • Carrozzeria Coupé
Ferrari

Ferrari
Via Abetone Inferiore, 4
41053 Maranello (MO) - Italia
0536 949 111
customerservice@owners.ferrari.com
https://www.ferrari.com/it-IT